Sterk Beton
Particuliere huizenkopers krijgen een afbouwgarantie en een gebrekengarantie. Professionele kopers kennen deze garanties doorgaans niet. Voor hen bedachten Rigo en ERB de 'Erkende Technische Oplossing'.

Bij een aanbesteding over de levering van zowel natzoutstrooiers en sneeuwploegen als routebegeleidings- en strooimanagementsystemen, stelt een gemeente de referentie-eis dat de inschrijver in een periode van drie jaar voorafgaand aan de publicatiedatum van de aanbesteding een of meer routebegeleidings- en strooimanagementsystemen geleverd moet hebben.

Is een voorovereenkomst tot verhuur van een nog te realiseren gebouw aanbestedingsplichtig? Over die vraag heeft het Hof van Justitie van de Europese Unie zich recent uitgelaten.

Ik ben geschoold als bouwtechnicus en beoordeel de kwaliteit van gebouwen op hun details en materiaalgebruik. Door mijn achtergrond heb ik een lichte aversie ontwikkeld tegen producten die de suggestie wekken van een bepaald materiaal te zijn, maar het eigenlijk niet zijn.

Wanneer stadsverwarming, blokverwarming of een WKO-voorziening wordt gebruikt om een pand te verwarmen, is sprake van een zogeheten warmtenet. Sinds 1 januari 2014 hebben leveranciers en afnemers te maken met de Warmtewet. Doel van de wet is het bieden van consumentenbescherming. Omdat er maar één lokale partij is die de warmte kan leveren, kan niet zomaar overgestapt worden naar een andere warmteleverancier.

Het gaat weer stukken beter met ons. De hypotheekrente is nog nooit zo laag geweest en dat is bij de consument, moe van vijf jaar crisis, gaan kriebelen. De makelaars hebben het weer druk en ook de nieuwbouwwoningen gaan in aanzienlijk grotere hoeveelheden van de hand dan een jaar geleden. Het lage btw-tarief op verbouwingen wordt door het kabinet gehandhaafd en het EIB signaleert een stijgende werkvoorraad. Dus… eind goed al goed?

Het is alweer een tijd geleden dat ik het op televisie zag. Ter land, ter zee en in de lucht. Voor het oog dwaze mensen die zich ter aarde of water stortten in de ultieme poging een bel te luiden. De één met een nog bijzonderder voertuig dan de ander. Maar ook techneuten met ware snelheidsmonsters, gebouwd om het record te breken.

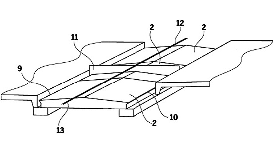
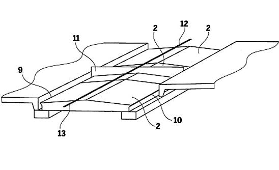
Een nieuw ontwikkelde stalvloer met twee giergoten langs de randen moet de uitstoot van ammoniak verder terugdringen. Onder invloed van de steeds scherper wordende milieu-regelgeving streven zowel de rundveehouders als de producenten van stalvloeren naar het inrichten van zogeheten emissiearme stallen, waaruit zo min mogelijk verzurend ammoniak vrijkomt. Hierbij speelt met name het toepassen van emissiearme vloeren een belangrijke rol.

Bouwrecht en strafrecht komen soms heel dicht bij elkaar. Een bouwrechtjurist dient onder andere oog te hebben voor de Wet Arbeid Vreemdelingen (WAV). Recent kwam de WAV nog aan de orde bij de Raad van Arbitrage voor de Bouw (14 juli 2014, No. 71.868).

Afgelopen zomer mocht ik met mijn gezin een reis door China maken. Met groeiende verwondering zag ik dat in ieder dorp en iedere stad grote aantallen hoge appartementengebouwen uit de grond gestampt worden. Rust kent men daar niet. Ook in de vakantieperiode wordt gewoon door gebouwd.