Sterk Beton

Eén project(organisatie)model voor projecten in de grond- weg en waterbouwkunde, dat is wel zo gemakkelijk.

De beelden van drijvende gele taxi's gingen de hele wereld over. Sandy had hard toegeslagen in New York. Deze orkaan stuwde in 2012 het water de stad in en gebouwen, metrotunnels en bouwputten liepen onder. De verantwoordelijke minister van huisvesting en stedelijke ontwikkeling, Shaun Donovan, besloot hulp te vragen aan Nederland.
Cobouw publiceerde afgelopen tijd geregeld over de problematiek rond de grote projecten, de vechtcontracten en het prijsduiken. Peter Staats schetst de contouren van een 'waar Grieks drama'. Hij ziet kansen in emvi en best value procurement (BVP), maar stelt tegelijkertijd vast dat we er nog lang niet zijn.
We zitten ogenschijnlijk weer in de lift. De consument krijgt er elke dag meer zin in. De portefeuilles van leveranciers nemen verhoudingsgewijs toe en we zien hun prijzen weer stijgen.

Een hogere economische groei dan verwacht, een toenemend consumentenvertrouwen en minder faillissementen in de bouwsector. De goednieuwsberichten volgen elkaar in rap tempo op. Een goed teken vindt Nico Rietdijk, directeur NVB Bouw, maar tegelijkertijd is alertheid geboden. Maatregelen op bijvoorbeeld het rentevlak in relatie tot de woningmarkt zijn nodig om de groei niet in de knop te breken.

Het is weer zover. De slag om de 6 procent btw-regeling is in volle gang. Het was even stil nadat de coalitiepartijen tegen de verlenging hadden gestemd. Maar nu het einde van de regeling echt nadert, laten de verschillende (branche-)organisaties weer van zich horen.

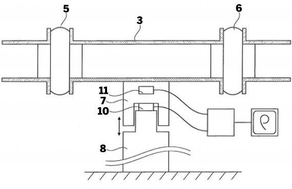
Op een bewegend baggerschip is het voor het bepalen van de dichtheid van een opgepompte slurry niet voldoende om alleen het gewicht te meten. Ook de Tweede Wet van Newton en het meten van de optredende versnellingen zijn nodig.

In het verkeer gebeuren veel ongelukken doordat verkeersdeelnemers geen richting aangeven. In het rechtsverkeer is dat niet anders. Dit fenomeen komt duidelijk naar voren bij toepasselijkverklaring van algemene voorwaarden. In een recente uitspraak heeft de Hoge Raad een nieuwe loot toegevoegd aan de stam van de uitgebreide rechtspraak over algemene voorwaarden.
Fouten in een palenplan, door de verantwoordelijke constructeur zelf vroegtijdig gesignaleerd. Met als gevolg ruim een ton aan geclaimde schade. En toch geen cent voor de benadeelde ondernemer. Hoe kan dat?

Het zal niemand ontgaan. Je komt op social media de gekste, leukste en geweldigste uitingen tegen. Inspirerende verhalen en prachtige foto's of video's. Maar al deze activiteiten hebben ook een keerzijde. Mensen wanen zich online anoniem en dus vliegen de ongenuanceerde meningen, haattweets en bedreigingen je om de oren. De zwartepietendiscussie is zo'n voorbeeld. BN'ers werden bedreigd en discriminerende uitingen gingen over en weer. De media smullen ervan.