Gemeente Meppel
De Franse president Nicolas Sarkozy wil 35 miljard investeren in het openbaar vervoer in en rond Parijs.
Aannemersbedrijf VAR uit Emmen is dringend op zoek naar ervaren personeel

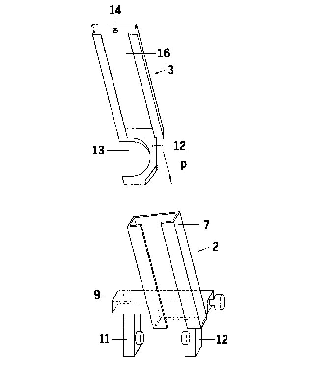
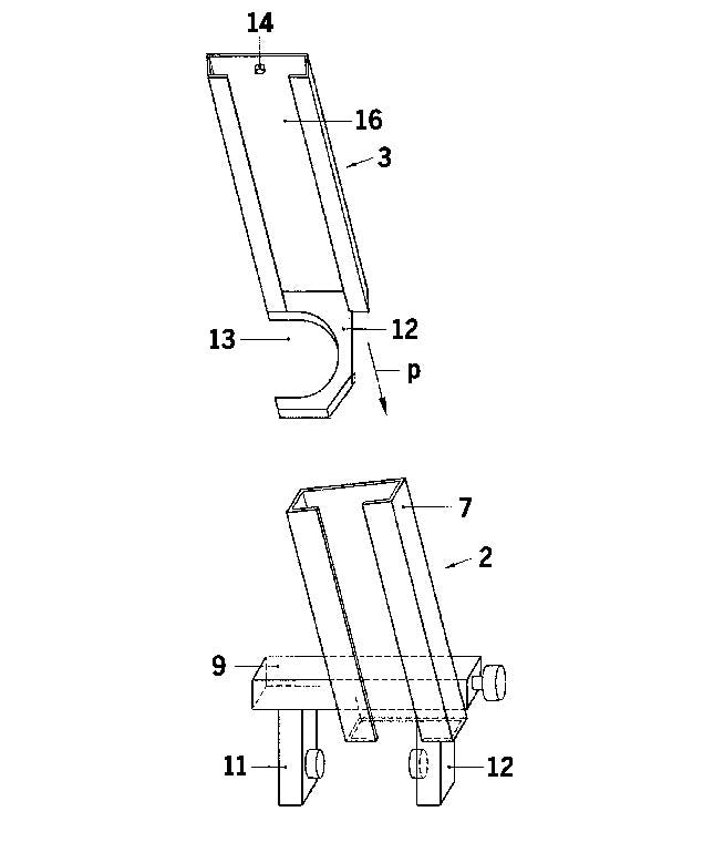
Met een extra hulpstuk kan een sinds begin dit jaar verkrijgbare ladderborgklem worden omgebouwd tot een klem die ook rolsteigers borgt.
Sportkoepel NOCNSF wil een nieuwe trainingsaccommodatie bouwen op sportcentrum Papendal. De bouw van de trainingsaccommodatie, met als naam Arnhem Hal, begint eind dit jaar, althans als de gemeente Arnhem en het Rijk financieel inspringen.
Het landschap verrommelt en karakteristieke landschapselementen verdwijnen, landschappen worden eenzijdig. Dit tegengaan vereist concrete afspraken. Maar, vraagt Robbert Coops zich af, volstaat de Agenda Landschap?
Professor Victor Li van de Universiteit van Michigan heeft een beton ontwikkeld dat zelf-herstellend is. "Wanneer we het na het helen opnieuw belasten, gedraagt het zich als nieuw," aldus de materiaaldeskundige.
In Frankrijk zijn in het eerste kwartaal 58
De nieuwe 'huiskamer' van de gemeente Hengelo is een feit

Van Eijk Sloopwerken is in opdracht van de gemeente Rotterdam bezig met het slopen van een parkeergarage in het Laurenskwartier. Op de plek waar vroeger twee basisscholen stonden, ontwikkelt Provast een overdekte markthal.
De opmars van de zzp'er in de Nederlandse economie en in de bouwsector in het bijzonder, stelt de economisch onderzoeker voor mooie uitdagingen